Multiplex FunCub
- koulinek
- Příspěvky: 2318
- Registrován: stř 22.12.2010 0:00
- Bydliště: Hradec Králové (nedaleko)
- Kontaktovat uživatele:
Re: Multiplex FunCub
To bude vysavač na baterku! když tam dáš spíš ten 910kv stejně velkej tak budeš létat klidně i 2x tak dlouho.
T14SG, PhoenixRC 5, Hexacopter Y6, GoPro 3 Black, FPV
QAV250, TF2, SWIFT2, TREX450, FunCub, SuperCub
QAV250, TF2, SWIFT2, TREX450, FunCub, SuperCub
- Eduard
- Příspěvky: 124
- Registrován: sob 15.01.2011 0:00
- Bydliště: Svitavsko ČR
- Kontaktovat uživatele:
Re: Multiplex FunCub
Dik za rychlou odpověď. Vim že se moc nehodi, ale chci to zkusit. Nebude stoupani 5 na cca15000 otaček moc? Nemám ani čim změřit odběr, tak abych to neupekl, nebo nelital jen 3minuty.
- koulinek
- Příspěvky: 2318
- Registrován: stř 22.12.2010 0:00
- Bydliště: Hradec Králové (nedaleko)
- Kontaktovat uživatele:
Re: Multiplex FunCub
Jo, topit to bude, účinnost mizerná, začni spíš s 10x3.8 ale zvaž spíš ten vhodnější motor 
T14SG, PhoenixRC 5, Hexacopter Y6, GoPro 3 Black, FPV
QAV250, TF2, SWIFT2, TREX450, FunCub, SuperCub
QAV250, TF2, SWIFT2, TREX450, FunCub, SuperCub
Re: Multiplex FunCub
dej tam max 1050/1100kv motor (treba sk3 turnigy 3536)
s tim litam ja a je to bez problemu, litam na pul plynu a ma to prebytek vykonu takze kdyz me z nebavi to rekreacni litani tak mam vzdy rezervu vykonu na neco "ostrejsiho" takze zde se pak hodi i takovyto motor.
nic silnejsiho tam nedavej z duvodu hmotnosti a zbytecne maleho letoveho casu.
s tim litam ja a je to bez problemu, litam na pul plynu a ma to prebytek vykonu takze kdyz me z nebavi to rekreacni litani tak mam vzdy rezervu vykonu na neco "ostrejsiho" takze zde se pak hodi i takovyto motor.
nic silnejsiho tam nedavej z duvodu hmotnosti a zbytecne maleho letoveho casu.
- Eduard
- Příspěvky: 124
- Registrován: sob 15.01.2011 0:00
- Bydliště: Svitavsko ČR
- Kontaktovat uživatele:
Re: Multiplex FunCub
Hmmmm Jde o to, že mi leží doma. No nic, přiobjednáme.
Dík
Dík
Re: Multiplex FunCub
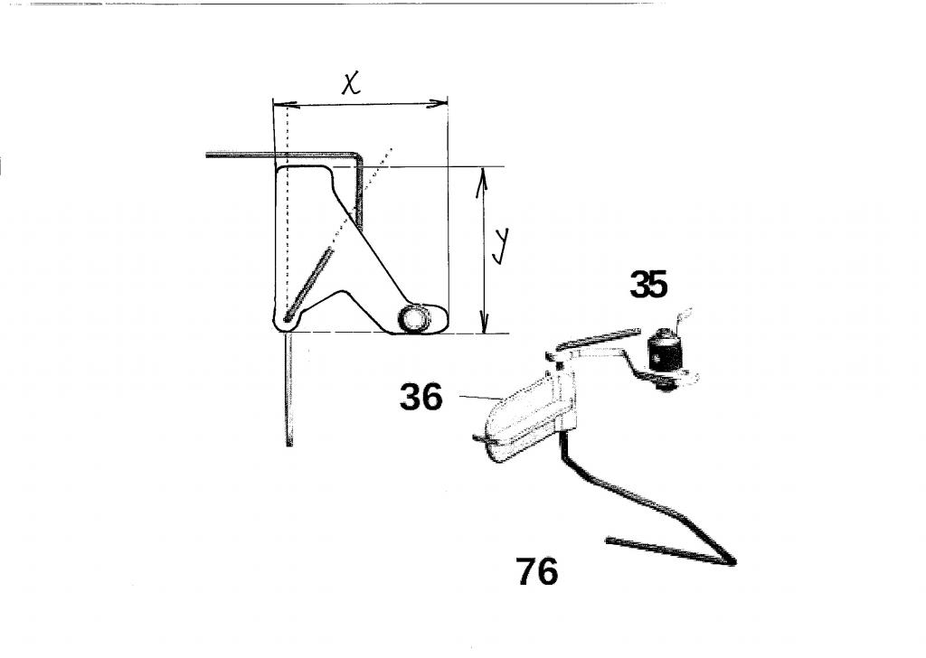
Ahoj,
ve stavebnici mi chybí díl číslo 35
"tailskid" - páka směrovky, viz. přiložený obrázek.
Byl byste někdo tak laskavý a změřil rozměry x a y na vašem FunCubu?
(rozměry prosím do soukromé zprávy)
Předem děkuji !
ve stavebnici mi chybí díl číslo 35
"tailskid" - páka směrovky, viz. přiložený obrázek.
Byl byste někdo tak laskavý a změřil rozměry x a y na vašem FunCubu?
(rozměry prosím do soukromé zprávy)
Předem děkuji !
Beta 1400, Pioneer, Aurora 9
Re: Multiplex FunCub
Mam Funcuba rozdelaneho na stole, vecer zmerim a poslu
Re: Multiplex FunCub
Hlavne tam nedávaj na ostruhu drôt dodaný v stavebnici ale niečo hrubšie napr. 3mm drôt, pretože ten od výrobcu je mäkký a hnusne sa ohýba, najmä do strán a potom to na zemi je ťažké uriadiť, alebo stále narovnávať a narovnávať ...
Re: Multiplex FunCub
Ahoj,
díky všem, kteří pomohli s rozměry chybějící součástky.
Včera jsem FunCuba dokončil a zalétal.
Je to skutečně _Fun_ letadlo.
díky všem, kteří pomohli s rozměry chybějící součástky.
Včera jsem FunCuba dokončil a zalétal.
Je to skutečně _Fun_ letadlo.
Beta 1400, Pioneer, Aurora 9
Re: Multiplex FunCub
Zjednodušené odpružení podvozku: pružina, vlasec, kousek plechu a měděná očka připájená měkkou pájkou.
Beta 1400, Pioneer, Aurora 9
Re: Multiplex FunCub
Také jsem si udělal radost a na takové to blbnutí postavil FunCuba. Očka na lanko u podvozku jsem ale naletoval na čokoládu. Velká výhoda tohoto řešení je v možnosti nastavení tuhosti podvozku. Stačí jen posunout čokoládu níže či výše.
Hitec Aurora 9, Aero Fly Prof.
Katana S 120E, Mini Corado, FunCub, SU 29 EPP (1,2m), Griffin 450
Katana S 120E, Mini Corado, FunCub, SU 29 EPP (1,2m), Griffin 450
Re: Multiplex FunCub
No a takhle jsem řešil držák baterie. Jednoduchá záležitost, která zapadne do profilu trupu. Stále zůstává dost místa pro proudění vzduchu i když mám baterku až vzadu. Zdá se mi to lepší, než ta překližková monstra co do toho strkají.
Hitec Aurora 9, Aero Fly Prof.
Katana S 120E, Mini Corado, FunCub, SU 29 EPP (1,2m), Griffin 450
Katana S 120E, Mini Corado, FunCub, SU 29 EPP (1,2m), Griffin 450
Re: Multiplex FunCub
No a ještě přihodím MPX řešení.
Hitec Aurora 9, Aero Fly Prof.
Katana S 120E, Mini Corado, FunCub, SU 29 EPP (1,2m), Griffin 450
Katana S 120E, Mini Corado, FunCub, SU 29 EPP (1,2m), Griffin 450
Re: Multiplex FunCub
Už se těším na zálet 
Hitec Aurora 9, Aero Fly Prof.
Katana S 120E, Mini Corado, FunCub, SU 29 EPP (1,2m), Griffin 450
Katana S 120E, Mini Corado, FunCub, SU 29 EPP (1,2m), Griffin 450
-
JardaRůžička
- Příspěvky: 2736
- Registrován: pát 02.03.2012 7:55
- Bydliště: Ústí nad Labem
Re: Multiplex FunCub
Hezké éro, tak ať si ho užiješ.
Měl bych ještě dva tipy, jak ty vychytávky vylepšit.
1) Jestli na fotce dobře vidím, máš oba MPX konektory stejně ve smyslu samec/samice, je tedy možnost záměny. Pokud jeden z párů prohodíš, stát se to nemůže.
2) K nastavování tuhosti podvozku musíš sundavat kola (nedostaneš tam šroubovák). Pokud bys očka na svorky napájel s otočením o 90°, dostaneš tam šroubovák ve směru osy letu i s nasazenými koly.
Měl bych ještě dva tipy, jak ty vychytávky vylepšit.
1) Jestli na fotce dobře vidím, máš oba MPX konektory stejně ve smyslu samec/samice, je tedy možnost záměny. Pokud jeden z párů prohodíš, stát se to nemůže.
2) K nastavování tuhosti podvozku musíš sundavat kola (nedostaneš tam šroubovák). Pokud bys očka na svorky napájel s otočením o 90°, dostaneš tam šroubovák ve směru osy letu i s nasazenými koly.